sonstige
Bosch Thermotechnik
Keine Ersatzteile verfügbar.
Noch nicht das richtige dabei?
Frag einen Experten!
Solarkollektor
Bosch Thermotechnik
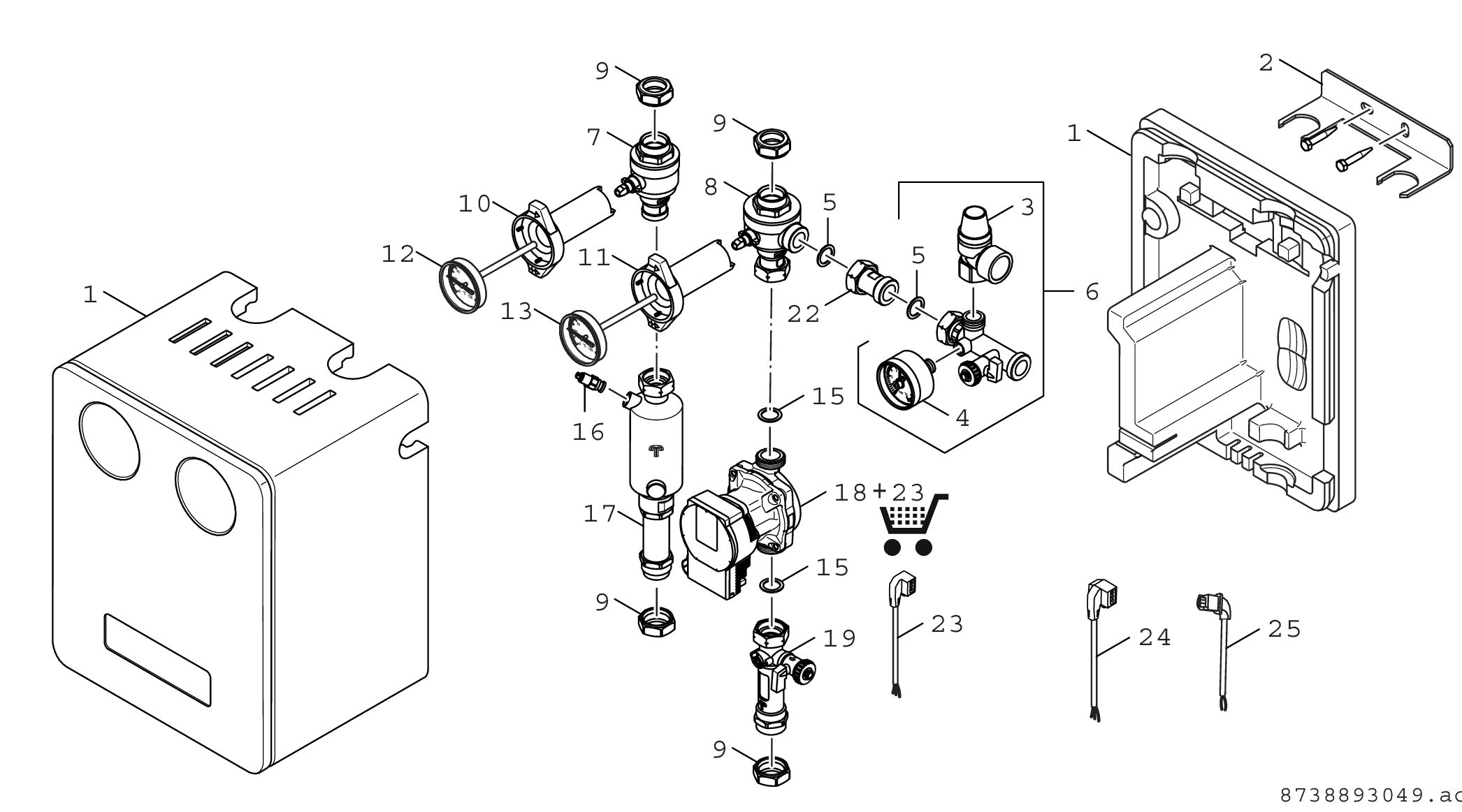
Solarstation
Bosch Thermotechnik
Solarstation
Bosch Thermotechnik
Solarstation
Bosch Thermotechnik
Solarstation
Bosch Thermotechnik
Solarstation
Bosch Thermotechnik
Speicherkörper
Bosch Thermotechnik
Pufferspeicher
Bosch Thermotechnik
Pufferspeicher
Bosch Thermotechnik
Pufferspeicher
Bosch Thermotechnik
Pufferspeicher
Bosch Thermotechnik
Solarstation
Bosch Thermotechnik
Solarstation
Bosch Thermotechnik