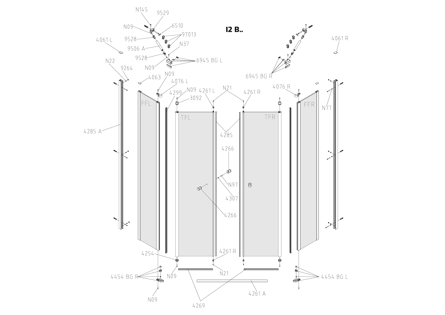
Kermi Kermi EBI2011 Set Lager unten Farbe: weiss – Ersatzteilservice